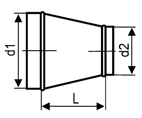
Вентиляционный переход (круглый) из оцинкованной стали, предназначен для соединения воздуховодов круглого сечения разных диаметров.
Изделие производится из стального листа, толщиной оцинкованной стали 0,55, 0,7 и 1,0 миллиметров. Производится два соединения – фланцевое или ниппельное. По конструкции вентиляционные переходы делются на центральные, односторонние и переходы со смещением (несимметричные). Выбор конкретного вида изделия обуславливается конструкцией вентиляционной системы.
Качество вентиляционных круглых переходов, соответствует установленным стандартам.

Диаметр

Диаметр d2, мм

Центральный

d, мм

Длина L, мм

Площадь, м2

Вес, кг

 

125

100

64

0,07

0,4

140

100

85

0,07

0,4

125

51

0,07

0,4

160

100

112

0,11

0,5

125

78

0,09

0,4

200

100

167

0,16

0,7

125

133

0,14

0,7

160

85

0,12

0,6

250

100

236

0,21

1

125

202

0,2

1

160

154

0,19

0,9

200

99

0,17

0,8

280

125

243

0,25

1,1

160

195

0,24

1,1

200

140

0,21

1

250

71

0,17

0,8

315

125

291

0,32

1,4

160

243

0,3

1,3

200

188

0,28

1,3

250

119

0,25

1,1

280

78

0,22

1

355

160

298

0,38

2,1

200

243

0,38

2,1

250

174

0,32

1,8

280

133

0,3

1,7

315

85

0,26

1,5

400

160

365

0,47

2,6

200

310

0,45

2,5

250

241

0,39

2,2

280

200

0,39

2,2

315

152

0,35

2

355

97.

0,3

1,7

450

200

378.

0,56

3,1

250

310

0,57

3,2

280

269

0,5

2,8

315

221

0,47

2,6

355

166

0,42

2,4

400

109

0,36

2

500

200

447

0,69

3,8

250

378

0,65

3,6

280

337

0,63

3,5

315

289

0,59

3,3

355

234

0,54

3

400

177

0,48

2,7

450

109

0,4

2,2

560

250

461

0,82

4,6

280

420

0,79

4,4

315

371

0,75

4,2

355

317

0,7

3,9

400

260

0,65

3,6

450

191

0,56

3,1

500

122

0,47

2,6

630

250

557

1,03

5,7

280

516

1

5,7

315

468

0,97

5,4

355

413

0,92

5,1

400

356

0,88

4,9

450

287

0,81

4,5

500

219

0,73

4,1

560

136

0,63

3,5

710

355

528

1,21

6,7

400

471

1,16

6,4

450

402

1,1

6,1

500

333

1

5,5

560

251

0,89

4,9

630

155

0,74

4,1

800

400

594

1,52

8,4

450

526

1,45

8

500

457

1,37

7,6

560

375

1,25

6,9

630

279

1,1

6,1

710

174

0,89

4,9

900

450

663

1,89

14,9

500

594

1,77

13,9

560

512

1,66

13,1

630

416

1,5

11,8

710

311

1,31

10,3

800

187

1,06

8,4

1000

500

732

2,27

17,9

560

649

2,14

16,8

630

553

1,98

15,6

710

448

1,92

15,2

800

390

1,82

14,4

900

352

1,81

14,3

1000

215

1,42

11,2

1250

630

897

3,35

26,3

710

792

3,17

24,9

800

668

2,91

22,9

900

531

2,62

20,6

1000

393

2,23

17,6

1120

229

1,72

13,6

Кто на сайте

Сейчас 37 гостей онлайн

Авторизация