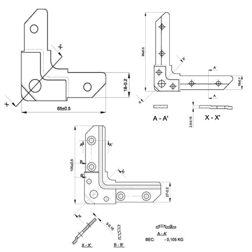
Описание: Уголок для производства прямоугольных воздуховодов изготовлен из оцинкованной стали. Защитный слой покрытия (толщина 8-10 микрон), цинк серебристого цвета.
Назначение: Уголок предназначен для сборки фланцев.
Рекомендации по применению: Уголок подбирается для каждого типа шины монтажной непосредственно, чтобы обеспечить прочность и жесткость фланцевой рамки.

Обозначение

Типоразмер

Ед.изм.

20/0

65*18*3

шт.

20/1

95*18*3

шт.

30

105*27*3

шт.

  • Уголки монтируются на углах фланцев прямоугольных воздуховодов
  • Фиксирующий болт должен совпадать по размеру с болтом вентиляционного соединения в соответствии с нагрузочными характеристиками по каталогу.
  • Гальванизирован для защиты от коррозии (гальванопокрытие толщиной 8-10 микрон)

 

Кто на сайте

Сейчас 22 гостей онлайн

Авторизация