

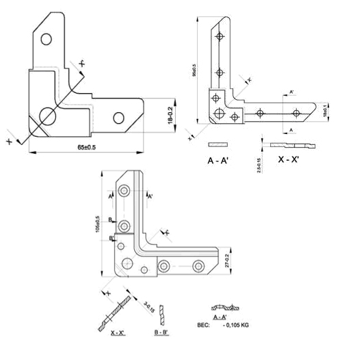
Описание: Уголок для производства прямоугольных воздуховодов изготовлен из оцинкованной стали. Защитный слой покрытия (толщина 8-10 микрон), цинк серебристого цвета.
Назначение: Уголок предназначен для сборки фланцев.
Рекомендации по применению: Уголок подбирается для каждого типа шины монтажной непосредственно, чтобы обеспечить прочность и жесткость фланцевой рамки.
|
Обозначение |
Типоразмер |
Ед.изм. |
|
|
20/0 |
65*18*3 |
шт. |
|
|
20/1 |
95*18*3 |
шт. |
|
|
30 |
105*27*3 |
шт. |
|
-
Уголки монтируются на углах фланцев прямоугольных воздуховодов
-
Фиксирующий болт должен совпадать по размеру с болтом вентиляционного соединения в соответствии с нагрузочными характеристиками по каталогу.
-
Гальванизирован для защиты от коррозии (гальванопокрытие толщиной 8-10 микрон)



